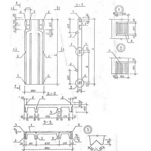
Вентблок ВБ 1-2 п представляет собой специальный элемент для вентиляции и дренажа в железобетонных конструкциях. Он обеспечивает надежную защиту от влаги и позволяет поддерживать оптимальный микроклимат внутри сооружения. Вентблок имеет прочную конструкцию и долгий срок службы.
Вентблок ВБ 1-2 п широко используется в строительстве железобетонных зданий и сооружений. Он устанавливается в стенах, перекрытиях и других элементах конструкции для обеспечения естественной вентиляции и дренажа. Вентблоки также могут применяться в подземных сооружениях, гаражах, складах и других объектах, где необходимо обеспечить циркуляцию воздуха и защиту от влаги. Благодаря своей надежности и эффективности, вентблоки ВБ 1-2 п являются неотъемлемым элементом в строительной отрасли.









